Boeing 767



Boeing 767 je širokotrupé dvoumotorové letadlo pro střední tratě. První stroj byl do provozu uveden v roce 1982 u United Airlines, dodnes bylo vyrobeno přes 1000 kusů B767, které létaly u více než 80 aerolinií po celém světě. Dnes sice žádný český ani slovenský letecký dopravce neprovozuje B767, avšak v Česku i na Slovensku se B767 krátce objevil u domácích leteckých společností.

Vznik

Na počátku sedmdesátých let Boeing začal pracovat na nové generaci letadel, která by nahradila stroje jako Boeing 707 a DC-8. Americký trh vyžadoval typ vhodný na transkontinentální lety s kapacitou okolo 180 cestujících, se dvěma uličkami a možností přepravovat standardní nákladové kontejnery. Důležitá byla také ekonomika provozu a hlučnost. V roce 1971 byly zveřejněny první skicy úzkotrupého letounu pro 200 cestujících, který měl křídla o velké šípovitosti a s tzv. superkritickým profilem, který umožňuje létat vysokými podzvukovými rychlostmi při relativně nízkém odporu. Čtyři motory (dva na bocích zadní části trupu a dva pod křídly) mu měly umožnit dosáhnout rychlosti 0,98 M. Toto byl však pouze první návrh a cesta k Boeingu 767 v dnešní podobě byla ještě dlouhá.

V roce 1972 bylo poprvé použito označení 7X7, v dalším roce bylo leteckým společnostem představeno několik návrhů nového letadla řady 7X7. Nový letoun měl být menší než Boeing 747 nebo DC-10, ale větší než Boeing 727. Velikostí měl být zhruba srovnatelný s Lockheedem L-1011 Tristar a konkurenčním Airbusem A300. Dle původních předpokladů měla výroba začít v roce 1974 a první dodávky měly být zahájeny v roce 1977. Trvalo však ještě další čtyři roky, než byla hotova první verze ve finální podobě. Mezitím vzniklo na 240 různých variant, které se lišily šířkou a délkou trupu, uspořádáním ocasních ploch, počtem a uspořádáním motorů a samozřejmě i kapacitou a doletem. Výrazný vliv na vznik nového letadla měla ropná krize, kterou vyvolalo ropné embargo v roce 1973 (více viz http://cs.wikipedia.org/wiki/Ropný_šok).

V roce 1978 byly představeny dvě podoby nového letadla, značené už jako 767-100 a 767-200. V obou případech se jednalo o dvoumotorová letadla s motory zavěšenými pod křídly a klasickými ocasními plochami. "Stovka" měla vyhovět požadavku American Airlines na letoun pro 175 cestujících, zatímco "dvoustovka" vycházela z potřeby letounu s alespoň 190 místy pro United Airlines. Vybrána byla verze 767-200 a 767-100 nebyla nikdy postavena. Výrobní závod Everettu byl postupně rozšířen o 666 tisíc m2, aby zde mohla vzniknout montážní linka 767.

Výroba 767 dostala zelenou 14. července 1978, kdy United Airlines objednaly 30 kusů 767-200 v ceně 1,2 mld. USD, na dalších 37 kusů si zajistily předkupní práva. Ve stejném roce Boeing získal objednávky od dalších velkých aerolinek - American Airlines a Delta Airlines. Práce na stavbě prvního kusu 767-200 začaly 6. července 1979 v Auburnu (Washington), finální montáž byla zahájena 8. dubna 1981 v Everettu.

První 767 byl dokončen a představen veřejnosti 4. srpna 1981. V tento den bylo na tento typ celkem 173 pevných objednávek a 138 opcí, tedy více, než kolik měl jakýkoliv předchozí typ ve stejné fázi vývoje.

První let, trvající 2 hodiny a 4 minuty, se konal 26. září téhož roku. Během následujících deseti měsíců nalétaly zkoušené stroje celkem 1648 letových hodin. Letových zkoušek se účastnilo pět letadel s kokpitem pro tříčlennou osádku (čtyři s motory Pratt & Whitney - první letový prototyp, patřící společnosti Boeing, a tři další B767, které byly určeny pro United Airlines - a jedno s motory General Electric GE CF6-80A). První 767 byl použit k úvodním testům letové způsobilosti, testům stability a ovladatelnosti. Druhý letoun zahájil zkoušky v září 1981. Byl použit k testování avioniky, ovládání, navigačního systému, elektrické instalace a také k certifikaci motorů. Třetí prototyp se zapojil do zkušebního programu v listopadu se zaměřením na brzdný systém, zkoušky zatížení a testy pneumatické soustavy a autopilota. Čtvrté letadlo, vybavené kompletním interiérem v přední polovině kabiny pro cestující bylo uvedeno do provozu v prosinci 1981 pro provozní zkoušky a testování spolehlivosti.

Pátý kus byl využit pro testy a certifikaci s motory General Electric CF6-80A, poprvé vzlétl v únoru 1982. Šestý B767, který létal od jara 1982 a měl také motory CF6-80A, byl určen pro dvoučlennou osádku a probíhala na něm certifikace typu.

Boeing B767 s motory Pratt & Whitney JT9D-7R4 získal certifikaci od FAA 30. července 1982 a první zákazník - United Airlines - obdržel první letoun 19. srpna. Do provozu byl poprvé nasazen 8. září 1982 při letu z Chicaga do Denveru. Verze s motory General Electric byla certifikována 30. září 1982 a Delta Airlines převzaly první kus 25. října. V březnu 1984 byl B767 certifikován pro CAT IIIb (automatické navedení na přistání) na letištích USA. Toto povolení dovolilo operace s dráhovou dohledností 300 stop. B767 bylo první letadlo certifikované pro CAT IIIb i od FAA.

Model První objednávka Rollout První let Certifikace První dodávka V provozu (dopravce) Poslední dodávka
767-200 14.7.1978 4.8.1981 26.9.1981 30.7.1982 19.8.1982 8.9.1982 (United) 24.2.1994
767-200ER 16.12.1982 14.2.1984 6.3.1984 ?.3.1984 26.3.1984 27.3.1984 (El Al)  
767-300 29.9.1983 14.1.1986 30.1.1986 22.9.1986 25.9.1986 20.10.1986 (Japan)  
767-300ER 3.3.1987 3.11.1986 9.12.1986 20.1.1988 19.2.1988 3.3.1988 (American)  
767-300F 15.1.1993 8.5.1995 20.6.1995 12.10.1995 12.10.1995 16.10.1995 (UPS)  
767-400ER 20.3.1997 26.8.1999 9.10.1999 20.7.2000 29.8.2000 14.9.2000 (Continetal)  
podle www.boeing.com

Provoz

Jednou z významných novinek, kterou 767 přinesl, byla redukce počtu členů osádky. Práci palubního inženýra zastoupila řada nových elektronických systémů (podrobněji níže) a osádku tak tvoří pouze dvojice pilotů. Přestože dnes je dvojice pilotů běžná i u největších dopravních letadel, rozhodnutí snížit počet členů posádky ve své době vyvolalo nesouhlas některých odborníků a také leteckých společností. Prototyp a několik prvních sériových letadel proto bylo vyrobeno s kokpitem pro trojčlennou posádku. Boeing se však vize dvoučlenné osádky nevzdal a 27. května 1982, osm měsíců po prvním vzletu prototypu, poprvé vzlétl přepracovaný 767 s kabinou pro dva piloty. Pokračování testovacího programu vedlo k certifikaci 767 s dvoučlennou osádkou. Rozpracované 767 ve výrobě byly proto přestavěny a zákazníkům dodávány v dvoučlenném provedení. Jedinými aeroliniemi i poté vyžadujícími uspořádání pro trojčlennou posádku byly Ansett Australia Airlines. Celkem provozovaly pět kusů 767-200, v jejichž kokpitu bylo místo pro palubního inženýra. V roce 1998 bylo ale i těchto pět strojů přestavěno.

V době vzniku Boeingu 767 byly lety přes oceány z bezpečnostních důvodů výsadou třímotorových nebo čtyřmorových letadel, aby v případě poruchy motoru bylo možno doletět na nejbližší letiště. B767 se stal prvním dvoumotorovým letadlem, které může létat létat na dálkových tratích (přes oceány, pouště nebo polární oblasti), které byly dříve pro dvoumotorové letouny uzavřeny. Mezinárodní organizace pro civilní letectví (ICAO) vydala pravidla ETOPS (Extended-range Twin-engine Operational Performance Standards) upravující podmínky, za kterých mohou být dvoumotorová letadla provozována na tratích, kde se letoun v určitém bodě ocitne ve vzdálenosti větší než 60 minut letu od nejbližšího letiště.

I při závadě na jednom motoru má letoun dostatek výkonu, aby doletěl na nejbližší letiště. B767 nejprve splnil požadavky na ETOPS-60, později byl limit zvýšen na 90 minut, následně v květnu 1985 na 120 minut pro motory JT9 (motory CF6 o tři měsíce později) a v roce 1989 na maximum (180 minut) pro letadla s motory CF6. V roce 1990 následovalo splnění podmínek ETOPS-180 pro motory PW4000 a v roce 1992 pro motory Rolls-Royce. Splnění podmínek ETOPS umožnilo Boeingu 767 stát se nejpoužívanějším letadlem pro transatlantické lety - v roce 2007 vykonala letadla B767 týdně přes 800 letů, zatímco B777 na druhém místě pouze 500 letů týdně.

V době zavedení prvních B767 bylo výhodou tohoto typu to, že pilotní kabina u B767 a B757 je shodná. Posádky, mající osvědčení na jeden typ, tak mohou po krátkém přeškolení létat i s druhým typem. Mezi představením Boeingu 757 a 767 uběhlo pět měsíců. Obě letadla jsou v mnoha ohledech shodná, využívají řadu stejných komponent. Díky tomu Boeing snížil náklady na vývoj a zároveň zatraktivnil svá letadla pro potenciální zákazníky.

Boeing 767 byl jedním z prvních dopravních letadel, které mělo tzv. skleněný kokpit (anglicky glass cockpit). Kokpitu 767 již tedy nedominují klasické budíky, ale šest CRT displejů. Dva displeje jsou využity pro EICAS (Engine indication and crew alerting system - Systém indikace a signalizace překročení limitů motorových veličin). Ten ukazuje provozní hodnoty motorů a upozorňuje na případné překročení teploty výfukových plynů, otáček turbín, kompresního poměru atd. Pro více informací viz http://en.wikipedia.org/wiki/EICAS. Zbylé čtyři displeje jsou využívány elektronickým letovým informačním systémem EFIS (Electronic Flight Information System, http://en.wikipedia.org/wiki/Electronic_Flight_Instrument_System), jeho součásti jsou:

  • Elektronický povelový ukazatel letové polohy (EADI - electronic attitude director indicator)
    • Digitální displej zobrazující umělý horizont, údaje o rychlosti, výšce, tlaku atd.
  • Elektronický navigační ukazatel (EHSI - electronic horizontal situation indicator)
  • Systém pro řízení a optimalizaci letu (FMS - flight management system)
    • Navigační systém letadla obsahující:
    • FMC (Flight management computer) - navigační počítač, sleduje údaje z různých senzorů letadla (výšku, rychlost, polohu) a buď sám řídí let prostřednictvím autopilota nebo "napovídá" pilotům správnou trasu prostřednictvím flight directoru
    • Autopilota
    • F/D (flight director) - zobrazuje odchylku od hodnot nastavených na autopilotovi, způsobených tím, že letadlo řídí pilot sám
    • A/T (Autothrottle) - Automatické řízení tahu, využívané při zapnutém autopilotovi
    • IRS (Inertial reference systems) - informuje o poloze letadla
    • Pro více informací viz http://en.wikipedia.org/wiki/Flight_management_system

Výroba

Na vývoji a výrobě se podílely i společnosti mimo Spojené státy Americké. Již v dobách projektu 7X7 s Boeingem spolupracovala Aeritalia, která se podílela na výrobě všech pohyblivých aerodynamických ploch (křidélka, spoilery, sloty na náběžné hraně, klapky na odtokové hraně křídla, výškové kormidlo, směrové kormidlo i kýl SOP). Dalším podílníkem se stalo konsorcium japonských firem Civil Transport Development Corp. (nyní Commercial Airplane Co. nebo CAC). Tři japonské společnosti (Kawasaki, Mitsubishi a Fuji) vyráběly s výjimkou přídě celý trup. Fuji Heavy Industries dodává přechod křídlo-trup a dveře hlavního podvozku, Kawasaki Heavy Industries vnitřní žebrování křídel, střední část trupu a část trupu před křídlem. Mitsubishi Heavy Industries dodává zadní část trupu a dveře. Na výrobě se dále podílí celá řada amerických podniků, například přední část trupu s pilotními prostory dodává Boeing Wichita, stejně jako křídla. Náběžné hrany vyrábí divize Boeing Helicopters.

Druhého únoru 2011 proběhl slavnostní roll-out 1000. vyrobeného kusu B767. Jedná se o letadlo ve verzi -300ER pro ANA. Tento letoun se stal zároveň posledním vyrobeným na původní montážní lince. Následovně byla produkce přesunuta do menších prostor. Nová linka zabírá o 44 % méně prostoru, zároveň by však měla o 20 až 30 % zvýšit efektivitu výroby (http://www.heraldnet.com/article/20110306/BIZ/703069951/1122/news01). Důvodem je jednak potřeba prostor pro novou linku pro výrobu B787 a zároveň i nižší zájem o B767. V roce 2009 obdržel Boeing objednávky na 2 kusy, v roce 2010 na 3 a v roce 2011 (do konce července) na 23 letadel. Celkem má Boeing objednávky na 52 prozatím nedodaných 767, což by mělo umožnit zachovat výrobu minimálně do roku 2013. V následujících letech lze očekávat přesunutí zájmu dopravců spíše k typu B787 a linka pro B767 bude vytížena výrobou vojenských tankovacích KC-767.

Verze 

767-100 Plánovaná varianta pro 175 cestujících, nikdy nebyla vyráběna.

767-200 První verze řady 767, do služby byla zařazena v roce 1982 u United Airlines. Typická obsaditelnost je 181 cestujících ve dvou třídách nebo 224 míst v jedné třídě. Celkem bylo vyrobeno 128 letadel v této verzi.

767-200ER Původní verze -200 byla dosti omezena svým doletem, který neumožňoval její nasazení na některé interkontinentální linky, vedoucí přes Pacifik. Boeing proto nabídl verzi s delším doletem - B767-200ER (Extended range). Delší dolet byl umožněn použitím motorů s vyšším tahem a novou přídavnou nádrží o objemu 13 626 litů, umístěnou v centroplánu. Oproti B767-200 se liší ještě zesílenou konstrukcí centroplánu, náběžné hrany křídla a podvozku a také použitím těžších pneumatik. Celkem bylo vyrobeno 121 letadel v této verzi.

767-200SF Přestavěná celonákladní verze, kterou Boeing nabízí od roku 1998, od března 2005 přestavby provádí i Israel Aerospace Industries.

767-300 Model s prodlouženým trupem. Práce na této verzi byly zahájeny po získání první objednávky od JAL dne 29. září 1983. Trup původní 767-200 byl prodloužen o 6,43 m vložením dvou nových segmentů (3,08 m před a 3,35 m za křídlem). Díky tomu vzrostl počet sedadel pro cestující o 22 % (45 sedadel) a nákladní kapacita o 31 %, přičemž provozní náklady se zvedly zhruba o 10 %. Náklady na jedno sedadlo klesly o cca 10 %. Roll-out proběhl 14. ledna 1986, první let následoval 30. ledna 1986 a osvědčení o způsobilosti k provozu od FAA typ získal 22. září 1986. Japan Air Lines obdržely první stroj ze čtyř objednaných 25. září 1986 a do pravidelného provozu byl uveden 20. října téhož roku.

Letouny B767-300 se dělí na tři subverze, dle uspořádání interiéru a počtu dveří. Základní verze má dva vstupy pro cestující na každé straně trupu a celkem čtyři únikové východy nad křídlem. Letadla v tomto uspořádání mohou pojmout až 290 pasažérů. Druhá subverze má troje vstupní dveře pro cestující a jeden únikový východ za křídlem na každé straně trupu. Třetí varianta je podobná druhé, pouze má únikové východy nad křídlem. Bezpečnostní předpisy umožňují instalaci až 330 sedadel pro cestující (v řadách po osmi). Nejčastěji je využito uspořádání se dvěma páry únikových východů nad křídlem, variantu s jedním párem únikových východů za křídlem provozují například British Airways, o verzi s dvěma únikovými východy nad křídlem je nejmenší zájem, provozuje ji například Gulf Air. Celkem bylo vyrobeno 104 letadel této verze.

767-300ER Odvozená verze od B767-300 s větším doletem a vyšší vzletovou hmotností. Ve střední části křídla má zamontovánu přídavnou nádrž, která zvyšuje celkovou kapacitu na 91 029 litrů paliva. V srpnu 1987 objednaly British Airways B767-300ER s motory Rolls-Royce RB211-524H a poprvé tak byly na B767 namontovány motory Rolls-Royce. Do dubna 2011 bylo vyrobeno 548 letadel 767-300ER a výroba stále pokračuje.

767-300F Od modelu -300ER je odvozena i nákladní varianta Boeingu 767. Vývoj této verze byl zahájen v roce 1993 v reakci na objednávku od United Parcel Service z 15. ledna 1993. UPS měla zájem až o 60 kusů nákladní verze B767-300 s motory GE CF6-80C2 (následně bylo dodáno pouze 30 strojů). B767-300F pojme až 336,6 m3 nákladu na hlavní palubě a dalších 101,6 m3 pod ní. Na hlavní palubu je možno umístit až 24 kontejnerů či palet o půdorysu 235,5 cm x 317,5 cm, na spodní palubu až 30 kontejnerů LD-2 nebo 15 LD-1 a doplňkový náklad ložený mimo kontejnery. Další možnosti kombinace různých kontejnerů a palet jsou na obrázku v galerii. Nahoru otevíratelná nákladová vrata (rozměry 2,67 × 3,40 m) jsou umístěna v levé přední části trupu. Na spodní palubu vedou troje menší dveře. Hned za kokpitem jsou také na levé straně jedny dveře pro osádku, které vedou do vestibulu s toaletou, umývárnou a prostoru pro doprovod. Z trupu jsou odstraněna veškerá okna i vnitřní vybavení. Zesílen byl podvozek, konstrukce křídla, podlahy a centroplánu. Vnitřní nákladové prostory mohou být přetlakovány, s možností regulace teploty, což umožňuje přepravu zvířat či kazícího se zboží. Hlavní i spodní paluba jsou vybaveny automatickým systémem pro manipulaci s nákladem. Interiér hlavní paluby trupu má hladké laminátové obložení, od pilotní kabiny je oddělen bezpečnostní přepážkou.

Prototyp poprvé vzlétl 15. června 1995, následovalo 60 hodin letových zkoušek a 300 hodin pozemních zkoušek. Certifikaci typ získal 12. října 1995 a již 16. října byl první kus dodán společnosti UPS. Do července 2011 získal Boeing objednávky na celkem 84 letadel B767-300F, 20 letadel ještě nebylo dodáno.

767-300BCF (Boeing Converted Freighter) Takto jsou značena původně civilní letadla, která jsou přestavěna na nákladní. Jako první tuto přestavbu prodělal letoun ANA v roce 2008. Vnější odlišností oproti normálním B767-300F je zachování dveří i na pravé straně trupu za kokpitem. Společnost Israel Aerospace Industries nabízí tuto konverzi pod označením 767-300 BDSF (Bedek Special Freighter), přičemž první takto modifikovaný stroj přestavěný z B767-300ER, určený pro euroAtlantic airways poprvé vzlétl 27. října 2009.

767-400ER Dalším prodloužením 767-300 vznikla poslední verze, která je srovnatelná s konkurenčním Airbusem A330-200 a velikostně se řadí mezi B767-300 a B777-200. První studie této verze, ještě s označením B767-400ERY, byly rozpracovány již v dubnu 1993. Požadován byl letoun s kapacitou 280 cestujících ve třech třídách s doletem 13 000 km. Oficiálně byl vývoj zahájen až 28. dubna 1997 po objednávce na 21 letadel od společnosti Delta Air Lines. Dalšími zákazníkem byly Continental Airlines (16 letadel). Čtyři letadla později Continetal předal United Airlines.

Trup letounu byl zpevněn a prodloužen vložením dvou segmentů před (3,36 m) a za (3,07 m) centroplán. Křídlo se oproti předchozím verzím odlišuje zesíleným předním nosníkem, zvětšenou plochou a střední aerodynamickou tětivou, na náběžné hraně je navíc umístěna vnější sekce slotů. Na koncích křídla jsou dvakrát zalomené horizontální winglety (raked winglets), které snižují spotřebu paliva o tři procenta. Délka trupu a vyšší vzletová hmotnost si vyžádaly prodloužení podvozkových noh o 44 cm a použití kol a brzd převzatých z B777. Pohonné jednotky jsou v nabídce od všech třech hlavních výrobců - GE CF6-80C2 (233-273 kN), P&W 4000 a Rolls-Royce RB.211-524H. Kabina pro cestující pojme 296 cestujících ve dvoutřídním uspořádání, resp. 243 cestujících ve dvoutřídním uspořádání. Interiér byl převzat z typu B777. Pilotní kabina se odlišuje od verzí -200 a -300 a vychází z pilotní kabiny použité u B777 a B737NG. Potřebná vzletová dráha oproti předchozím verzím vzrostla z cca 2650-2860 metrů na 3050-3500 m.

Palivové nádrže v základním provedení mají objem 91 400 litrů, do podpalubí je možno instalovat ještě trojici přídavných nádrží o objemu 6 585 litrů, což umožňuje zvýšit dolet o 650 km. Dolet letounů bez přídavných nádrží při maximální vzletové hmotnosti se pohybuje okolo 10 000 km, což je méně než u verzí -200ER a -300ER. Proto se v roce 2000 objevil návrh verze B767-400ERX s dalšími dodatečnými přídavnými palivovými nádržemi a motory Engine Alliance GP7172 nebo Rolls Royce Trent 600, díky čemuž by letoun měl dolet zhruba 11 400 km. V roce 2001 byl ale projekt zastaven.

Dokončený letoun byl veřejnosti představen 26. srpna 1999 a poprvé vzlétl 9. října 1999. Následovalo cca 800 hodin letových a 1000 hodin pozemních zkoušek, kterých se zúčastnila tři letadla. Osvědčení způsobilosti k provozu od FAA získal typ 20. července 2000, společnosti Continental Airlines uvedla první stroj do provozu 15. září téhož roku.

Vojenské verze

Boeing 767 se úspěšně uplatnil i ve vojenské sféře. Jako první vznikla verze B767AST (Airborne Surveillance Testbed), určená k monitorování drah balistických raket. Je snadno rozpoznatelná díky kupolovité nástavbě nad trupem o délce 26,2 m. Jediný kus byl postaven z prototypu B767-200. Po ukončení zkoušek v roce 2003 byl letoun uložen na základně Victorville. (http://www.globalsecurity.org/space/systems/ast.htm)

Jako další modifikace vznikl letoun včasné výstrahy E-767 AWACS (Airborne Warning and Control System). Vychází z verze -200ER a díky tomu ve srovnání s E-3 Sentry (odvozeným z B707) nabízí levnější provoz a větší prostor pro umístění palubního vybavení i personálu. Jediným provozovatelem E-767 jsou Japonské letecké síly sebeobrany, které první dvě letadla získaly v roce 1998, o rok později následovala další dvě. (http://www.airforce-technology.com/projects/767awacs/ nebo http://en.wikipedia.org/wiki/Boeing_E-767)

Další verzí je KC-767 Tanker Transport určená pro doplňování paliva jiným letadlům za letu nebo pro dopravu osob a nákladu, opět vychází z verze -200ER. Provozovatelé letadel této verze jsou Itálie a Japonsko, v obou případech po čtyřech strojích. S touto verzí se také Boeing účastnil projektu KC-X na nahrazení stávající flotily tankovacích KC-135 USAF. Nejprve byl vybrán konkurenční Airbus A330 MRTT, ale po následném politickém nátlaku byl v únoru 2011 zvolen domácí KC-767, jenž následně dostal vojenské označení KC-46. Boeing má nyní objednávku na 18 předsériových letounů; následně je v plánu výroba cca 380 letadel. (http://en.wikipedia.org/wiki/Boeing_KC-46 a http://en.wikipedia.org/wiki/Boeing_KC-767)

Poslední vojenská modifikace pod označením E-10 MRC2A (Multi Role Command and Control Aircraft) byla odvozena z B767-400ER a měla nahradit letadla E-3 Sentry, E-8 Joint STARS a RC-135 Rivet Joint ve službách USAF. Nad zadní partií trupu před SOP měla mít umístěno zařízení AEW s plochou anténou upravené z B737 Wedgetail. V roce 2006 byl projekt zastaven. (http://en.wikipedia.org/wiki/Northrop_Grumman_E-10_MC2A)

Pro další informace o vojenských modifikacích B767 doporučuju článek od Ing. Milana Cvrkala z L+K 7/2002 "Vojenské Boeingy 767".

Konkurenční letadla 

Boeing 767 byl vnímán jako nástupce letadel typu 707 nebo DC-8, která byla navržena v 50. letech. Spolu se sourozeneckým 757 svým způsobem zastoupil i místo Boeingu 727. Oproti těmto typům přinesla nová dvojice výrazně nižší provozní náklady a to hned z několika důvodů. Jednak díky nižší hmotnosti dosažené použitím nových druhů materiálů (například u 767 bylo využito 544 kg uhlíkových kompozitů, které nahradily 1716 kg hliníku), dále díky novým křídlům a zlepšené aerodynamice. Neméně významný podíl měly i úspornější motory a prvky systému EFIS. Boeing 767-200 tak mohl nabídnout užitečné zatížení o 50 % vyšší než 727-200 při stejné spotřeba paliva.

Současníky 767 byla americká letadla McDonnel Douglas DC-10 a Lockheed L-1011 TriStar a evropské Airbusy A300 a A310. Výroba DC-10, L-1011 a Boeingu 767 však souběžně neběžela příliš dlouho - produkce L-1011 byla zastavena v roce 1984, DC-10 roku 1988. Hlavními soky 767-200 tedy byly Airbusy A300 a A310. Airbusy se B767 podobaly v mnoha ohledech - byla to širokotrupá dvoumotorová letadla určená pro střední až dlouhé tratě (ostatní letadla s podobným určením měla v té době tří- nebo čtyřmotorové uspořádání), měla také tzv. skleněný kokpit a pouze dvoučlennou osádku. Stejně jako u B757/767 bylo u A300/310 využito shodné uspořádání pilotního kokpitu. Provozní náklady B767-200 byly o cca 5 % nižší než A310-200. Airbus A310 ale má ve srovnání s B767 širší trup, což umožňuje umístit 8 sedadel vedle sebe, zatímco B767 standardně létá se sedmi sedadly v řadě (lze i 8, ale se zmenšenými rozestupy, toto uspořádání se příliš nepoužívá). Díky širšímu trupu také A310 pojme klasické kontejnery LD-3, zatímco pro B767 musí být použity speciálně navržené menší LD-2. Dalším rozdílem mezi A310 a B767 je odlišná koncepce křídla - zatímco u A310 bylo použito co nejmenší možné křídlo s bohatou mechanizací, B767 má větší křídlo s jednodušší mechanizací. Tento fakt umožnil poměrně jednoduché zvýšení kapacity letadla prodloužením trupu bez velkých zásahů do konstrukce křídla.

Novějším verzím 767-300 a -400ER je nejblíže Airbus A330-200. Za nástupce verzí -200ER a -300ER lze považovat Boeing 787-8, u verze -400ER je to potom Boeing 787-9. Plánované verze Airbusu A350 se svou kapacitou spíše blíží Boeingu 777, ale i tak je lze brát jako potenciální náhradu Boeingu 767-300ER/-400ER. Přímým pokračovatelem nejmenší varianty B767-200 měl být B787-3, ale s jeho výrobou se prozatím nepočítá.

Ceny B767 

Průměrné prodejní ceny jednotlivých verzí Boeingu 767 v roce 2010 byly následující:

767-200ER: 144,1 mil. USD
767-300ER: 164,3 mil. USD
767-300F:   167,7 mil. USD
767-400ER: 180,6 mil. USD

Pro srovnání ještě nástupce B787:

787-8: 185,2 mil. USD
787-9: 218,1 mil. USD

Katalogová cena Airbusu A330-200 byla v lednu 200,8 mil. USD. Tuto cenu však bohužel nelze srovnávat s cenami uváděnými společností Boeing, neboť skutečné ceny, za které Airbus letadla prodává, jsou při vyšším počtu zakoupených letadel výrazně nižší.

Boeing 767 v Česku a na Slovensku

Prvním dopravcem z České a Slovenské republiky provozujícím Boeing 767 byly Slovenské aerolínie. Jednalo se o B767-200, jehož prvním provozovatelem byla společnost TWA od roku 1983. Letoun byl na Slovensku dodán 29. června 2004 a byl nasazován zejména na lety z Británie do Indie (z Birminghamu do Amritsaru a Ahmedabádu) provozované pro Midland Airways (neplést s British Midland Airways). Po krachu Midland Airways v roce 2005 byl letoun navrácen leasingové společnosti a odstaven na letišti v Birminghamu. Letoun obdržel značku OM-NSH a měl dvoutřídní uspořádání, 203 sedadel v ekonomické třídě a 12 sedadel v obchodní třídě. Byl celý bílý bez jakéhokoliv loga společnosti.

Delší dobu létal B767 v České republice u Travel Service, pronajatý od Icelandairu. Letoun B767-383ER výrobního čísla 25365/395 z roku 1991 a s poznávací značkou TF-FIB poprvé přistál v Ostravě 3. prosince 2008 krátce po 21. hodině při letu z Tel Avivu, o den později se poprvé ukázal v Praze na Ruzyni. Letoun byl vyroben v září 1991 (v.č. 25365) a o měsíc později dodán SAS Scandinavian Airlines. Po vyřazení od SAS jej v listopadu 2003 získala irská leasingová společnost Sunrock Aircraft Corporation, která jej o měsíc později pronajala Icelandairu. Islandský dopravce ještě v témže roce letoun i s posádkou pronajal krátce britské charterové společnosti AV8Air a v roce 2006 na dva roky venezuelské společnosti Santa Barbara Airlines. Uspořádání kabiny pro cestující je dvoutřídní s 28 sedadly v obchodní třídě a 225 v ekonomické.

B767 létal z Prahy celou zimní sezónu přímé lety z Prahy do kubánského Varadera, thajského Bangkoku a pro potřeby dánské cestovní kanceláře Bravo Tours lety z Kodaně a Billundu do Phuketu a Venezuely. V médiích se sice objevily i zprávy o plánovaném zahájení pravidelných letů do Miami, tyto plány se ale nakonec neuskutečnily (http://ekonomika.idnes.cz/travel-service-zacne-letat-do-miami-duu-/eko-doprava.aspx?c=A081205_141037_ekoakcie_pin). Posádka letounu byla smíšená, piloti byli od Icelandair, palubní průvodčí od Travel Service. Kvůli poruše letounu TF-FIB v lednu 2009 se u Travelu krátce objevil i B767 YL-LCY od SmarLynx Airlines. Po skončení zimní sezóny TF-FIB 13. května 2009 odlétl do Nigérie, kde létal u společnosti Kabo Air, zpočátku i s palubním personálem od Travel Service.

Stejný letoun si Travel Service znovu pronajal na zimní sezónu 2009/2010. Do Prahy přilétl 24. prosince 2009 bez nápisu a loga společnosti Travel Service, firemní označení obdržel 6. ledna 2010. Byl opět nasazován na dálkové lety do exotických destinací. Své působení u Travelu skončil 23.4.2010.

Zajímavé je, že B767 se měl u Travel Service objevit již dříve, v roce 2002. V L+K 11/2002 je uvedeno: "Letadlový park společnosti Travel service se měl původně letos rozšířit o Boeing 767-300(ER). Zahraniční partner však neposkytl včas finanční garanci, následkem čehož pak již nebylo časově možné provoz tohoto tyu v letošním roce realizovat a celý projekt byl odložen." Mělo se jednat o B767-3G5 v.č. 28111/612 z roku 1996. V plánu bylo jeho nasazení na charterové lety do Japonska, Afriky, karibské oblasti a připravované lety do USA.

Registrace Typ Výr. č. Dodáno Vyřazeno Poznámky
Slovak Airlines
OM-NSH B767-231 22569/39 29.6.2004 ??.?.2005 První let 11.1.1983, od 13. dubna 1983 do roku 2004 u TWA (N606TW). Poté Slovak Airlines, následně odstaven v EGBB, od 23.6.2006 do 6.11.2007 BRA Transportes Aereos (PR-BRV). Poté odkoupen Boeingem (N606TW) a 1. července 2010 předán italskému vojenskému letectvu.
Travel Service
TF-FIB B767-383ER 25365/395 3.12.2008
24.12.2009
13.5.2009
23.4.2010
První let 27.9.1991, od 25.10.1991 SAS (SE-DKX, od 19.1.1994 LN-RCL). Od 22.12.2004 Icelandair (TF-FIB), násleně v pronájmu u AV8Air, Santa Barbara Airlines SBA, Travel Service, Kabo Air. Od 19.4.2011 Air Niugini (P2-PXW).

Technický popis

Boeing 767 je dolnokřídlý samonosný jednoplošník s klasickým uspořádáním ocasních ploch. Má tříbodý podvozek a je poháněn dvěma turbodmychadlovými motory umístěnými pod pod křídly.

Trup poloskořepinové konstrukce mírně eliptického průřezu má maximální vnější rozměry 5,03 x 5,41 m (š x v). V konstrukci jsou z části použity kompozity z uhlíkových, skelných a aramidových vláken. Trup se dělí na několik celků - příď včetně pilotní kabiny, kabinu pro cestující (přední, střední a zadní část) a záď.

Příď s pilotní kabinou vyrábí Boeing Wichita, s jedinou výjimkou, kterou je čelní prosklení. Čelní skla větrného štítku jsou plochá, boční jsou lehce zakřivená. Pilotní sedadla jsou plně polohovatelná, potažena ovčí kůží. Kabině dominuje šest CRT obrazovek od Rockwell Collins, které jsou využívány systémy EFIS (konkrétně Honeywell EFIS-7000) a EICAS, bližší popis výše. Pilotní kabina B767-400ER je mírně odlišná od předchozích verzí a více podobá B777 a B737NG, namísto klasických CRT obrazovek má v pilotní kabině šest LCD o rozměrech 203 x 203 mm od firmy Rockwell Collins.

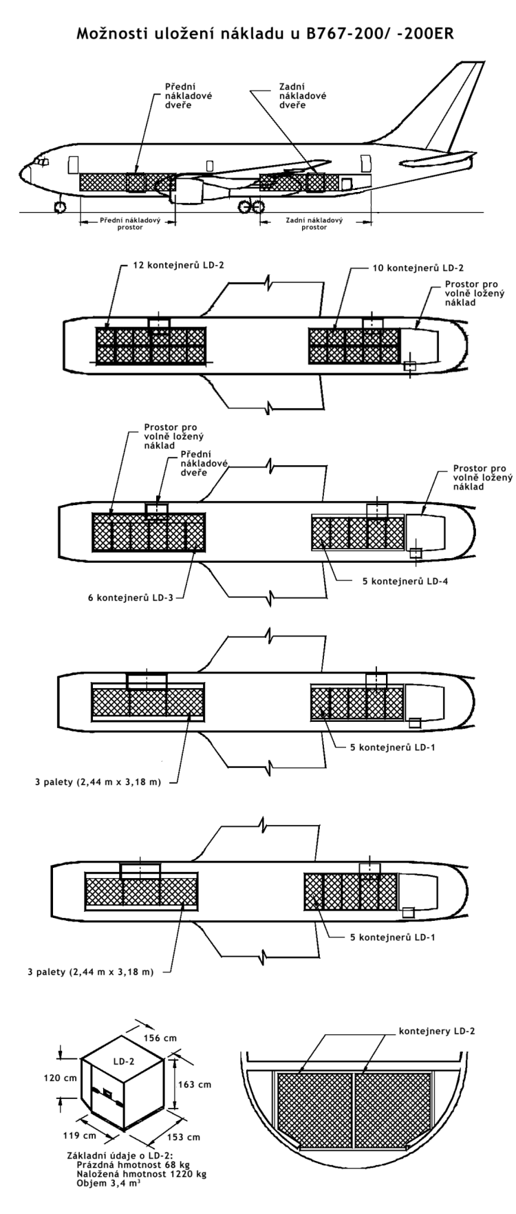
Kabina pro cestující je široká 4,72 m, tato šířka umožňuje uspořádat sedadla po pěti až osmi v jedné řadě (viz obrázek). Nejpoužívanější je uspořádání ve třech třídách, kdy první třída má 5 sedadel v řadě, obchodní třída šest a ekonomická sedm sedadel v řadě. Objem nákladních prostor u 767-200/200ER je 86,94m3 a je rozdělen do dvou sekcí. Do přední lze umístit 12 kontejnerů LD-2, do zadní dalších 10 kontejnerů LD-2 a dalších 12 m3 nákladu mimo kontejnery. Podpalubní prostory verze -300 o objemu 112,8 m3 pojmou až 30 kontejnerů LD-2 a 12,2 m3 dalšího nákladu. Do nejdelší verze 767-400ER je možno umístit až 38 kontejnerů LD-2. Dvojici kontejnerů LD-2 je možnost nahradit jedním LD-8. Oba tyto typy kontejnerů jsou určeny speciálně pro B767, protože ve srovnání s ostatními nákladními letadly má užší trup. Další možnosti nákladu jsou na nákresech v galerii. Podrobnosti o typech kontejnerů například zde: http://www.ana.co.jp/cargo/en/int/service/uld/container.html nebo http://en.wikipedia.org/wiki/Unit_Load_Device.

Křídla svírají úhel 31,5 stupně, konstrukce je převážně hliníková a má dva podélníky. Vnitřní prostory křídla jsou využity pro palivové nádrže. K mechanizaci křídla náleží hydraulicky ovládané sloty v pětí sekcích na náběžné hraně každé poloviny křídla, na horní straně vnějších částí křídla je umístěno šest párů spoilerů, z nichž jeden pár nelze použít při letu, ale pouze k brzdění při doběhu na zemi. Na vnějších částích křídel je jeden pár křidélek. Na spodní straně u odtokové hrany jsou tříštěrbinové vztlakové klapky. Na koncích křídel jsou navigační světla. Křídlo B767-400 se mírně odlišuje, podrobněji viz popis této verze.

Ocasní plochy jsou klasického uspořádání, směrově i výškové kormidlo a stabilizační plocha jsou ovládány hydraulicky.

Systémy pro řízení letu jsou klasické - primární jsou křidélka, směrové kormidlo, výšková kormidla, sekundární jsou spoilery, horizontální stabilizátor, sloty na náběžné hraně a přistávací klapky. Nejdůležitější systémy jsou z důvodu bezpečnosti zálohovány, pohyb směrovky a výškovek zajišťují tři nezávislé hydraulické okruhy, každé křidélko pak má dva hydraulické okruhy. Spoilery nemají hydraulický okruh zálohován. Horizontální stabilizátor je řízen elektricky ovládáným a hydraulicky poháněným kuličkovým šroubem (převádí rotační pohyb na přímočarý). Ovládání slotů na náběžné hraně a přistávacích klapek je mechanické, hydraulika zajištuje pohyb torzní tyče spolu s rotačním aktuátorem. Jako záloha hydrauliky jsou instalovány elektromotory.

Podvozek je zatažitelný tříbodový se čtveřicí pneumatik na hlavních podvozkových nohách a dvojicí pneumatik na přídi. Příďový podvozek je nebrzděný, řiditelný. Hlavní podvozková kola jsou opatřena brzdami (od roku 1987 uhlíkovými).

Pohonné jednotky mohou být od tří výrobců - Pratt & Whitney PW4000, General Electric CF6-80C2 nebo Rolls Royce RB211-524H (pouze u verze -300ER). První sériové 767 ve verzích -200/-300 měly i motory Pratt & Whitney JT9D-7R4 nebo General Electric CF6-80A.

PW4000 je dvouproudový motor, má jednostupňové čelní dmychadlo, pětistupňový nízkotlaký a patnáctistupňový vysokotlaký kompresor, dvoustupňovou vysokotlakou a pětistupňovou nízkotlakou turbínu. Průměr motoru je 238,8 cm, délka 337 cm. Hmotnost přibližně 4200 kg, dle použité verze. Obtokový poměr 4,8 - 5. Tah dosahuje až 270 kN (60 000 lb). U B767 se používají různé verze z rodiny typů s průměrem 94 inch.

GE CF6 je dvouproudový motor, má jednostupňové čelní dmychadlo, třístupňový nízkotlaký a čtnáctistupňový vysokotlaký kompresor, dvoustupňovou vysokotlakou a čtyřstupňovou nízkotlakou turbínu. Průměr motoru je 236 cm, délka 408 cm. Hmotnost přibližně 4150 kg, dle použité verze. Obtokový poměr 4,24 - 4,4. Tah dosahuje až 274 kN (61 500 lb).

Motory Rolls-Royce nejsou u B767 tolik rozšířené jako Pratt & Whitney a GE, letadla s nimi si pořídily zejména British Airways.

U jednotlivých verzí byly použity následující motory:

767-200:

Pratt & Whitney JT9D-7R4 (213 kN)

Pratt & Whitney PW4000-94 (222,4 - 270 kN)

General Electric CF6-80A (214-222 kN)

General Electric CF6-80C2 (270-274 kN)

767-200ER:

Pratt & Whitney PW4000-94 (222,4 - 270 kN)

General Electric CF6-80C2 (270-274 kN)

767-300:

Pratt & Whitney JT9D-7R4 (213 kN)

Pratt & Whitney PW4000-94 (222,4 - 270 kN)

General Electric CF6-80A (214-222 kN)

General Electric CF6-80C2 (270-274 kN)

767-300ER:

Pratt & Whitney PW4000-94 (222,4 - 270 kN)

General Electric CF6-80C2 (270-274 kN)

Rolls Royce RB211-524H (267 kN)

767-400ER:

Pratt & Whitney PW4000-94 (222,4 - 270 kN)

General Electric CF6-80C2 (233 - 274 kN)

Rolls - Royce RB.211-524H (264 kN, s těmito motory zatím nebyl vyroben ani jediný kus B767-400ER)

Boeing 767-200/300 má tři palivové nádrže, plnící panel je umístěn na pravém křídle. Objem palivových nádrží je 63 216 litrů, verze ER mají navíc další nádrž o objemu 28 163 litrů.

Prameny

  • Becher, Thomas: Boeing 757 and 767. Crowood press 1999.
  • Letectví + Kosmonautika: 2009/1, 2002/6, 2002/7, 2000/17, 2000/14, 1983/13
  • Jane´s all the world´s aircraft 2010-2011
  • http://boeing.com/commercial/767family
  • http://en.wikipedia.org/wiki/Boeing_767
  • http://www.aerospace-technology.com/projects/boeing767/
  • http://www.airways.cz/clanek/2008-12-10/travel-service-predstavil-boeing-767-300er
  • http://www.aviation-fan-club.com/model_b_767.htm
  • http://www.letadla.info (mimo provoz)
  • http://www.iai.co.il/32998-33885-en/BusinessAreas_MROConversion_CargoConversions.aspx

Technické údaje

Verze200200ER300300ER300F400ER
Rozpětí [m]47,5747,5752
Délka [m]48,5154,9461,4
Výška [m]15,8515,8518,79
Plocha křídla [m2]283,3290,7
Prázdná hmotnost [kg]80 13082 38087 13590 53586 180103 100
Maximální vzletová hmotnost [kg]151 956179 172159 213186 883186 880204 100
Dolet při max. vzlet. hmot. [km]7 13012 3527 40810 8806 02510 430
Cestovní rychlost [M]0,8
Maximální rychlost [M]0,86
Maximální počet cestujících290350--375
Nákladové prostory [m3]81,4114,2438129,6
Vyhledávání
Info o článku
Autor: Pavel Soukup
Zveřejněno: 11.10.2011
Poslední úprava: 16.11.2024
Galerie
Galerie
Československé letectví - web o historii letectví u nás [2022-2026]